微型振動給料機概述
微型振動給料機具有體積小、重量輕、結構簡單、耗電省、可無級調節給料量等特點。微型電磁給料機配套控制箱可實現手動、自動調節。微型給料機為座式結構,工作時只需放置在工作臺上即可。另可在給料槽內增加一~二層篩網,成為小型振動篩分設備。
微型電磁振動給料機廣泛應用于輕工、化工、糧食加工、商業等行業,用于粉狀、顆粒狀物料的給料、配料及定量自動包裝等生產流程中,并可實現集中控制和自動控制,與其他形式給料機相比,具有體積小、重量輕、結構簡單、耗電省、可無極調節給料量等特點。

技術參數
| 型號 | GZV1 | GZV2 | GZV3 | GZV4 | GZV5 | GZV6 |
| 生產能力(t/h) | 0.1 | 0.5 | 1 | 2 | 4 | 6 |
| 雙振幅(mm) | 1.5 | 1.5 | 1.5 | 1.5 | 1.5 | 1.5 |
| 振動頻率(r/min) | 3000 | 3000 | 3000 | 3000 | 3000 | 3000 |
| 供電電壓(V) | 220 | 220 | 220 | 220 | 220 | 220 |
| 有功功率(W) | 5 | 8 | 20 | 25 | 30 | 50 |
| 重量(Kg) | 4 | 10 | 12 | 24 | 35 | 72 |
注:電磁振動給料機生產能力按物料容量1.6t/m3計算。
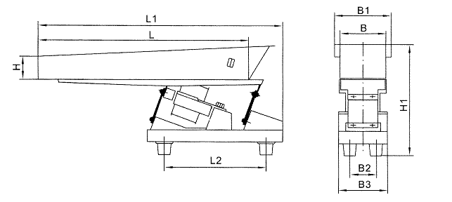
外形尺寸

| 型號 | B | B1 | B2 | B3 | L | L1 | L2 | H | H1 |
| GZV1 | 40 | 60 | 50 | 80 | 200 | 273 | 92 | 20 | 155 |
| GZV2 | 60 | 80 | 50 | 80 | 300 | 374 | 95 | 30 | 168 |
| GZV3 | 80 | 110 | 60 | 100 | 400 | 480 | 224 | 40 | 222 |
| GZV4 | 100 | 130 | 70 | 120 | 500 | 568 | 310 | 50 | 256 |
| GZV5 | 120 | 150 | 70 | 120 | 550 | 630 | 310 | 60 | 295 |
| GZV6 | 200 | 240 | 120 | 180 | 600 | 760 | 440 | 70 | 300 |







蘇公網安備 32062102000295號